LZ10002手動火災報警按鈕防雨罩



LZ10002手動火災報警按鈕防雨罩是碳鋼材質,壁掛式安裝,適用于在室外安裝本安型手動報警按鈕,防護等級IP65。可配套產品:J-SAB-G1(Ex)、J-SAF-GST9211A(Ex)手動火災報警按鈕。
海灣常用防爆場合的手動報警按鈕型號有J-SAF-GST9211A(Ex)和J-SAM-GST9116。海灣防爆手動按鈕在室外安裝時可采用立柱和壁掛安裝兩種形式,本文將介紹兩種海灣防爆手報按鈕室外安裝配套型號及示意圖。
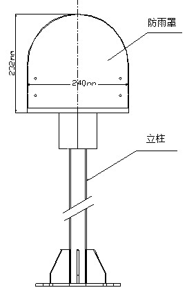
LZ10001型防雨罩與LZ1000型立柱配套安裝示意圖如圖所示

LZ10002型防雨罩采用壁掛式安裝,防護等級IP65,其外型尺寸及安裝示意圖如圖所示

2、J-SAM-GST9116手動報警按鈕室外立柱安裝配套產品:LZ10011型防雨罩與LZ1001型立柱;壁掛安裝時配套產品:LZ10011型防雨罩。
LZ10011型防雨罩與LZ1001型立柱配套安裝示意圖如圖所示

壁掛安裝方式示意圖如圖所示

海灣消防公司主營:海灣消防報警系統銷售,消防設備安裝,海灣氣體滅火、海灣電氣火災、消防水噴淋系統施工安裝,售后維修,海灣消防網站:http://m.ixsk.cn/;海灣消防服務熱線:4006-598-119
本頁關鍵詞:LZ10002手動火災報警按鈕防雨罩
上一篇:LZ10011手動火災報警按鈕防雨罩 下一篇:海灣B-9310模塊后備盒
產品中心

蘇公網安備32058102002147號